Sony vient de déposer un brevet révolutionnaire qui pourrait transformer radicalement notre manière de consommer le jeu vidéo sur PlayStation relayé par le média VGC. Baptisée Ghost Player, cette technologie s'appuie sur une intelligence artificielle capable de prendre le contrôle de votre personnage pour résoudre une énigme complexe ou franchir un passage particulièrement ardu. Cette innovation marque une étape supplémentaire dans l'intégration de l'IA au cœur de l'écosystème console de la firme japonaise.
Une assistance intelligente divisée en deux modes
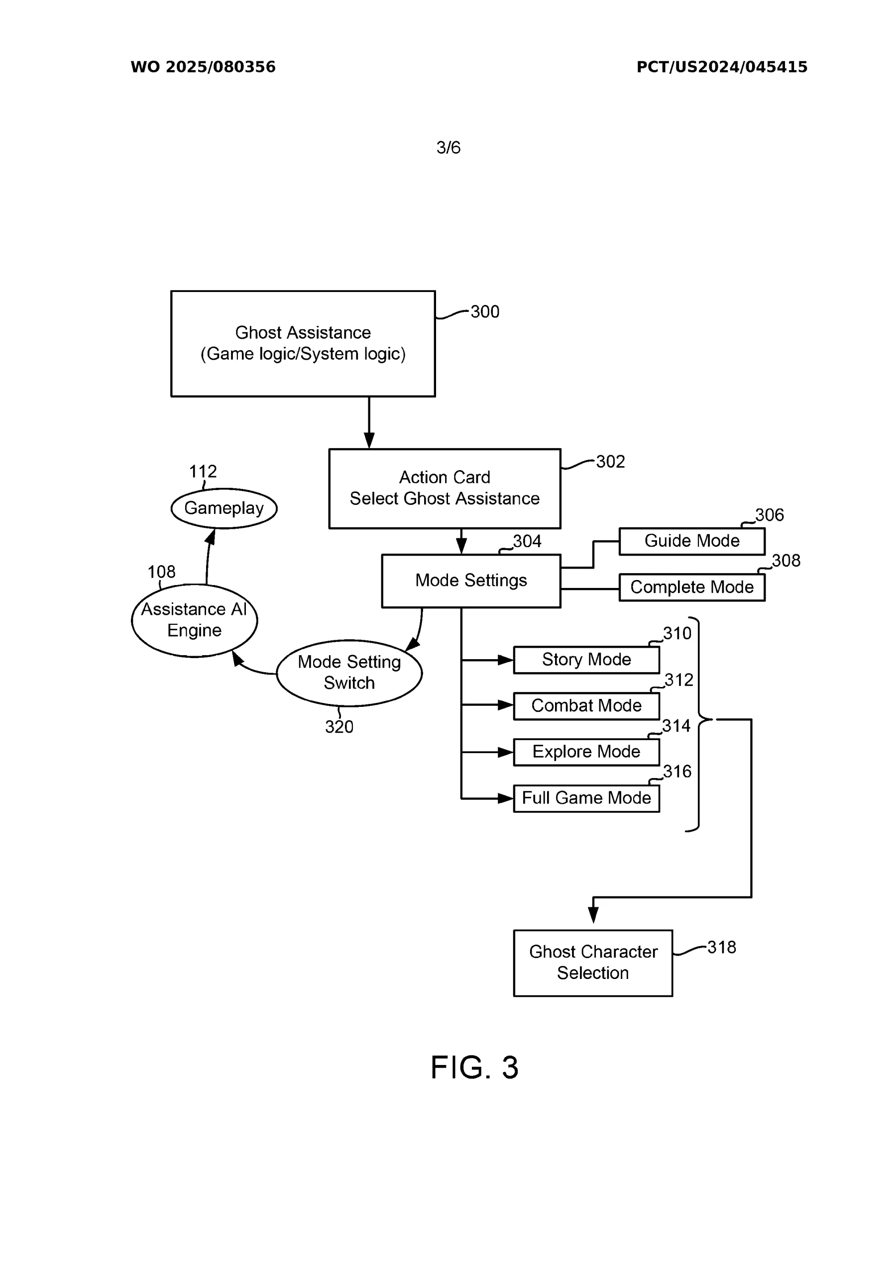
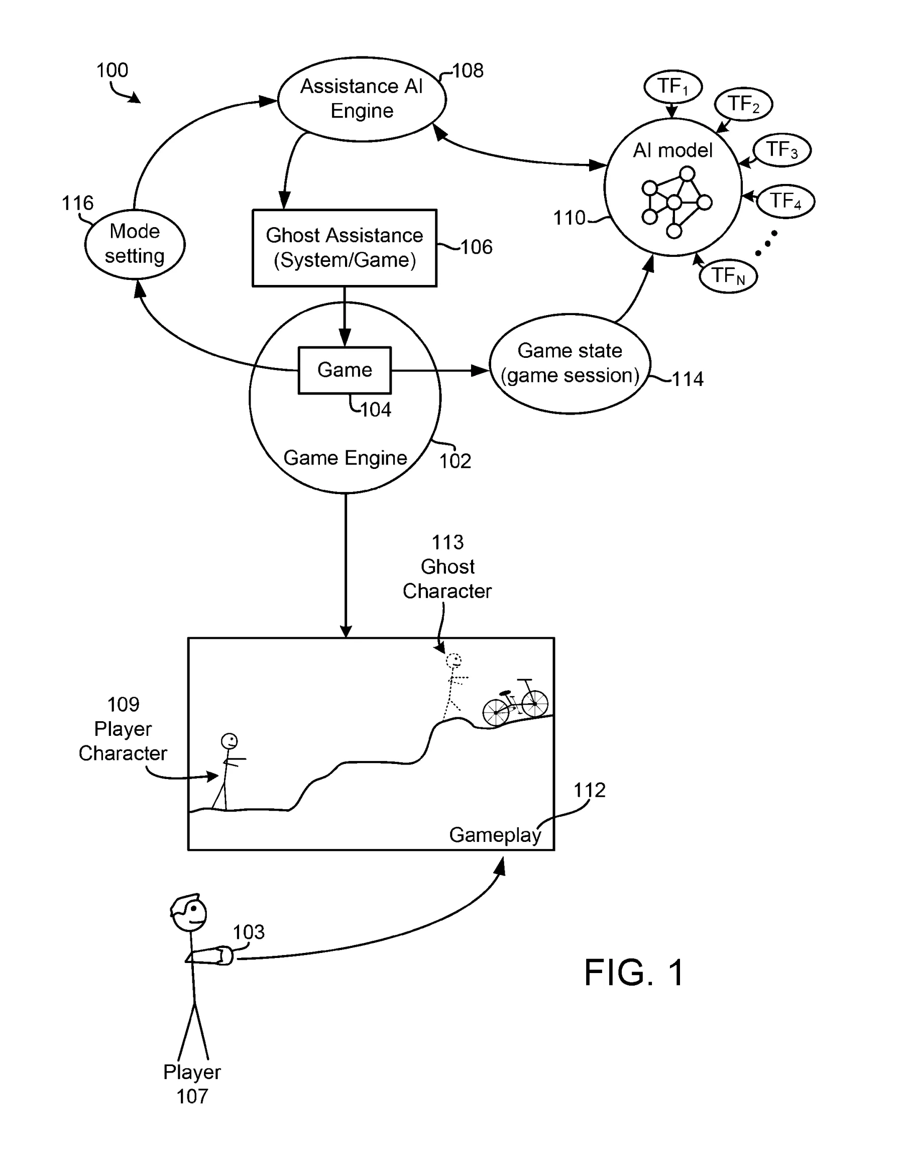
Le document déposé auprès de l'Organisation Mondiale de la Propriété Intellectuelle décrit un système sophistiqué. Concrètement, si un joueur se retrouve coincé, il pourrait invoquer un fantôme généré par l'IA. Ce Ghost Player se déclinerait en deux fonctionnalités distinctes
- Le Guide Mode, qui montre visuellement la solution à un puzzle avant de rendre la main au joueur.
- Le Complete Mode, qui permet à l'IA de terminer entièrement la section difficile pour le compte de l'utilisateur.
Contrairement aux systèmes classiques basés sur des séquences pré-enregistrées par les développeurs, cette technologie serait entraînée sur des séquences de gameplay réelles. L'IA apprendrait ainsi à partir de vidéos de jeux existantes pour reproduire des mouvements fluides et naturels, s'adaptant à la situation spécifique rencontrée par l'utilisateur, comme un saut complexe dans un Uncharted.

L'évolution de l'Aide au jeu PS5
Historiquement, Sony a toujours cherché à rendre ses jeux plus accessibles. On se souvient du système Aide au jeu lancé avec la PS5, qui propose des cartes d'activité avec des indices vidéo. Cependant, certains titres récents comme God of War Ragnarok ont essuyé des critiques de la part de la communauté. De nombreux joueurs reprochaient aux compagnons gérés par l'ordinateur de donner la solution des énigmes trop rapidement, gâchant ainsi le plaisir de la réflexion.
Avec Ghost Player, Sony semble vouloir donner plus de contrôle aux joueurs. Au lieu d'une aide subie et automatique, l'utilisateur choisirait activement de déclencher l'assistance uniquement lorsqu'il en ressent le besoin. C'est une approche qui pourrait particulièrement plaire aux chasseurs de trophées ou aux joueurs disposant de peu de temps de jeu et souhaitant simplement profiter de la narration sans subir de frustration prolongée.


L'IA, le futur compagnon de route des joueurs ?
Sony n'est pas le seul géant de la Tech à explorer cette voie. L'année dernière, Microsoft a présenté Copilot for Gaming, un assistant conçu pour être un véritable partenaire personnalisé. Ce dernier peut répondre à des questions sur les mécaniques de jeu, comme dans Minecraft, ou même gérer l'installation de titres comme Age of Empires IV via une simple commande vocale. L'objectif affiché par ces constructeurs est de réduire les barrières à l'entrée pour les néophytes et d'offrir une expérience de plus en plus fluide.
Il est toutefois important de noter que le dépôt d'un brevet ne garantit pas une application immédiate dans nos consoles. Les entreprises déposent régulièrement des concepts innovants pour protéger leurs idées, même si ces dernières ne voient jamais le jour. Si cette technologie devait être déployée, elle soulèverait sans doute des débats passionnants sur la définition même du verbe jouer et sur la place de l'effort dans l'expérience vidéoludique.
Reste à voir si les joueurs accepteront de déléguer leur manette à une intelligence artificielle pour progresser dans leurs aventures favorites.

